彌散型透氣磚是一種新型免吹掃長壽命精煉鋼 包磚。這種磚通常通過添加造孔材料和合理控制顆粒尺寸分布,以獲得大量非定向不規則分布、尺寸各異的貫通氣孔而制成,底吹氣體經由這些貫通氣孔進入冶金設備。早期的鋼包透氣磚都是鎂質和剛玉質材料經過機壓成型成錐形分體式透氣磚,其使用壽命較短。受機器壓力傳導所限,早期的彌散型透氣磚厚度較薄,一般都在300mm以下。目前,這種形式的彌散型透氣磚在有色行業和中頻爐底吹氬還在繼續使用。
隨著潔凈鋼發展對透氣磚要求的提高以及鋼包燒氧操作對透氣磚損毀機理的深入研究,為滿足用戶對鋼包精煉用透氣磚提出的凈化效果好、免燒氧的新要求,國內外生產廠家近些年都開始重新研究新型鋼包精煉用彌散型透氣磚,并研發出獨具特色的復合型彌散透氣磚,逐漸推廣應用到鋼包精煉爐上,實現了鋼包精煉爐的長壽節能并降本。新型彌散透氣磚具有如下優點:
一是使用過程不易產生熱震斷裂現象;吹氬的氣泡更細小,對鋼水凈化效果更好;不像狹縫型透氣磚需要經常燒氧清掃,該磚幾乎不用氧槍清掃;由于采用彌散磚和澆注狹縫磚上下復合,當用到狹縫磚時,很容易看到氣道的不同,使氣道報警作用增強,報警效果更明顯。新型彌散透氣磚透氣部分由氣體經過底部。當彌散磚使用完后,在鋼包熱修位置就能明顯地看到狹縫透氣通道,這個時候就代表使用到報警位置了,鋼包上的透氣磚即到安全下線位置。
二是隨著熱修工人招工越來越難、熟練工人逐漸退休,從事鋼包燒氧這種操作工人越來越少,勢必要求免燒型透氣磚廣泛應用;隨著節能降耗觀念深入人心,鋼包加蓋越來越普及,鋼包加蓋后給透氣磚燒氧操作帶來更大的障礙,勢必要求透氣磚具有自清掃、免清掃的性能;潔凈鋼的發展和特種鋼的冶煉,需要透氣效果更好的、凈化效果更好的彌散型透氣磚的應用。根據以上發展趨勢來看,國內彌散型透氣磚應用會迎來比較大的發展機會。
三是通過磚體結構的復合設計、配方的高純化和氧化鋯的使用,以及超高溫燒成,彌散透氣磚壽命超過了傳統狹縫透氣磚壽命,尤其在特鋼和精煉鋼領域展現出了更突出的抗滲透、高壽命性能。
新型彌散型透氣磚的技術發展的主要趨勢和方向如下:
從制備技術看:有球形顆粒、顆粒堆積、氣孔的形成方式,以及其他成型方式;
從長壽化技術看:有技術方案的優化、原料的優化、燒成溫度的優化等;
從狹縫彌散復合方式的優化看:應注重研發如何使狹縫與彌散型透氣磚復合,以及狹縫氣道的形成方式等;
從新型結構方式的優化看:應研發如何實現自動報警、流量報警、溫度報警等。

復合型彌散透氣磚磚芯生產成品

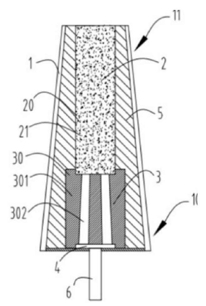
圖為復合型彌散透氣磚內部結構圖

圖為復合型彌散透氣磚 剖面示意圖




























